Knob-to-Shaft Fasteners


 

Knob-to-Shaft Fasteners

Self-Retaining Tinnerman Speed Clip Fasteners solve a host of Knob-to-Shaft assembly problems. They eliminate inserts and setscrews for reduced molding costs and easier, faster, assembly. Stresses are distributed evenly around the hub during application while the strength and durability of spring steel reinforces critical wearing points and harnesses cold-flow tendencies. Knob-to-Shaft fasteners can be removed and replaced repeatedly without danger of loosening or developing "knob-wobble".

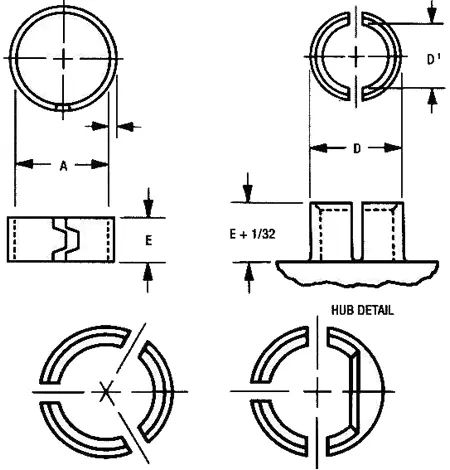
Two basic fastener designs are available for standard applications. Compression Rings are for use on thermoplastic knobs with split hubs. They squeeze the hub around the shaft insuring firm, reliable retention. Round, D-shaped or Knurled Shafts can be used depending upon the hub cavity design. "C" Clips are recommended for die cast or thick-walled thermosetting plastic knobs. For use with D-shaped shafts only, they bear against the flat side of the shaft clamping it firmly within the hub cavity.

Where knob designs do not permit the use of either Compression Rings or "C" Clip, Speed Clip Fasteners are available, or can be designed to fit within the knob cavity.

How to apply Knob-to-Shaft Speed Clip Fasteners
A simple tool picks up and expands the Compression Ring. The end of the tool is placed over the knob hub and the ring is transferred from the tool to the outer circumference of the hub in one easy motion.

"C" Clip fasteners can be assembled over the hub with a similar tool or lightly rapped in place with a mallet. Data on these simple assembly tools is available on request.


Knob-to-Shaft Fasteners

The dimensions of the parts listed are envelope dimensions only. For complete design information, please contact us. Metric Parts Listed In Italic

  Part Number D Hub
O.D.
D1 Shaft
Dia. Min.

D1 Hub
I.D Max.

A Ring
I.D.
E Ring
Height
T Matl.
Thick.
  C2133-017 .235-.252 .125 .175 .220 .130 .017
  C2304-014 .307-.317 .182 .192 .280 .250 .014
  C2122-014 .335-.345 .245 .255 .300 .250 .014
  C2684-017 .351-.367 .219 .269 .320 .130 .017
  C2401-014 .361-.371 .234 .281 .320 .250 .014
  C2155-028 .389-.421 .272 .322 .370 .190 .028
  C4101-017 .432-.442 .375 .385 .410 .250 .017
  C2166-025 .526-.536 .362 .372 .470 .250 .025
  D5794-020 .683-.693 .558 .568 .600 .250 .020

 

Material: All parts are Spring Steel, heat treated, unless otherwise specified. The only
variations available are those shown with suffix letters in the part number.
  • SS - Stainless Steel
  • BE - Beryllium Copper
  • P - Phosphor Bronze


 

Our website uses cookies. For more information on our cookie use, see our Privacy Policy. By continuing to use this website you agree to our use of these cookies.